无障碍规划

浴室

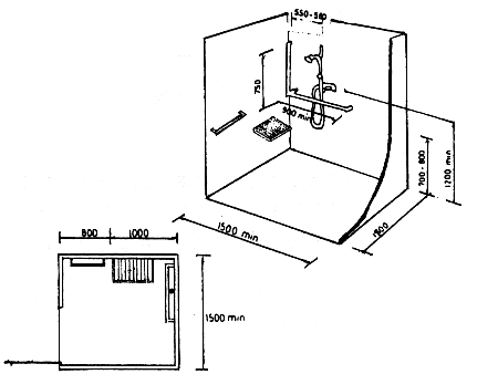
(1)淋浴室内应有供坐轮椅者方便使用的高度和宽度都合适的椅子;

(2)淋浴室内应有高度和位置都合适的抓杆,便于坐轮椅者使用;

(3)淋浴室内应有呼叫按钮或其他信号设备,且高度和位置适合坐轮椅者在发生紧急事件时使用;

(4)在浴室旁应有足够的轮椅回转的空间;

(5)浴室的门、锁或拉钩应使用那种在外面可以开启形式的,以备有紧急情况时使用;

(6)浴室的门应采用滑动拉门或向外开启式的;

(7)这些条款同样使用于那些面对低收入家庭的公共浴室。

(8)挂毛巾和放肥皂等各种物件的设施,必须在1200-1300毫米的高度之间,以方便坐着淋浴的人士。


浴室


上一页 | 下一页